Jednostupňové horizontální axiální čerpadlo s jedním vstupem
Výhody koncových sacích čerpadel řady IS jsou následující:
1. Může přepravovat čistou vodu i odpadní vody.
2. Komplexní výkon je dobrý, vysoký spád: přeprava na dlouhé vzdálenosti a s vysokým spádem, jedna sada spádových hlavic může dosáhnout maximálně 132,5 m.
3. Vysoký průtok: lze dosáhnout až 460 m3/h.
4. Průměr: velikost výstupu od 32 mm do 150 mm.
5. Široký výběr materiálů: litina, nerezová ocel atd. nebo zakázkové materiály.
6. Široké použití: lze přepravovat čistou vodu i odpadní vody, široce se používají v průmyslu a městském vodovodním a kanalizačním systému, zemědělském odvodňování a zavlažování atd.
7. K dispozici je hnací motor motoru a nafty.
8. Naše společnost má certifikát ISO a splňuje mezinárodní normy. Čerpadla řady IS splňují mezinárodní normu ISO2858.
9. Úspora energie a snižování nákladů: samotné čerpadlo má pokročilou a vyspělou konstrukci s ohledem na úsporu vody. V režimu tradičního přímého startu se zvyšují metody pomalého startu a frekvenčního startu, což zajišťuje úsporu energie a ochranná zařízení; upravuje rychlost pomocí pomalého režimu zapojení, aby se dosáhlo maximálního využití a výsledků práce.
10. Snadná obsluha, nižší hluk a vibrace.
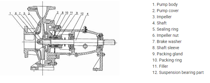
Konstrukce čerpadla:

Parametr()50 Hz):
| Model | RPM(ot./min.) | Kapacita | Hlava(m) | Aúčinnost (%) | Moc (kW) | ||
|
|
| m3/h | L/S |
|
| Výkon na hřídeli | Výkon motoru |
| IS50-32-125 | 2900 | 12,5 | 3,47 | 20 | 60 | 0,13 | 2.2 |
|
| 1450 | 6.3 | 1,74 | 5 | 54 | 0,16 | 0,55 |
| IS50-32-160 | 2900 | 12,5 | 3,47 | 32 | 54 | 2,02 | 3 |
|
| 1450 | 6.3 | 1,74 | 8 | 48 | 0,29 | 0,55 |
| IS50-32-200 | 2900 | 12,5 | 3,47 | 50 | 48 | 3,54 | 5,5 |
|
| 1450 | 6.3 | 1,74 | 12.1 | 42 | 0,51 | 0,75 |
| IS50-32-250 | 2900 | 12,5 | 3,47 | 80 | 38 let | 7.16 | 11 |
|
| 1450 | 6.3 | 1,74 | 20 | 32 | 1,07 | 1,5 |
| IS65-50-125 | 2900 | 25 | 6,94 | 20 | 69 | 1,97 | 3 |
|
| 1450 | 12,5 | 3,47 | 5 | 64 | 0,27 | 0,55 |
| IS65-50-160 | 2900 | 25 | 6,94 | 32 | 65 | 3,35 | 5,5 |
|
| 1450 | 12,5 | 3,47 | 8 | 60 | 0,45 | 0,75 |
| IS65-40-200 | 2900 | 25 | 6,94 | 50 | 60 | 5,67 | 7,5 |
|
| 1450 | 12,5 | 3,47 | 12,5 | 55 | 0,77 | 1.1 |
| IS65-40-200 | 2900 | 25 | 6,94 | 50 | 50 | 10,89 | 15 |
|
| 1450 | 12,5 | 3,47 | 20 | 46 | 1,48 | 2.2 |
| IS65-40-250 | 2900 | 25 | 6,94 | 80 | 50 | 10,89 | 15 |
|
| 1450 | 12,5 | 3,47 | 20 | 46 | 1,48 | 2.2 |
| IS65-40-315 | 2900 | 25 | 6,94 | 125 | 50 | 21.3 | 30 |
|
| 1450 | 12,5 | 3,47 | 32 | 46 | 2,94 | 4 |
| IS80-65-125 | 2900 | 50 | 13,9 | 20 | 40 | 3,63 | 5,5 |
|
| 1450 | 25 | 6,94 | 5 | 37 | 0,48 | 0,75 |
| IS80-65-160 | 2900 | 50 | 13,9 | 32 | 75 | 5,97 | 7,5 |
|
| 1450 | 25 | 6,94 | 8 | 71 | 9,87 | 1,5 |
| IS80-50-200 | 2900 | 50 | 13,9 | 50 | 69 | 9,87 | 15 |
|
| 1450 | 25 | 6,94 | 12,5 | 65 | 1,31 | 2.2 |
| IS80-50-250 | 2900 | 50 | 13,9 | 80 | 63 | 17,3 | 22 |
|
| 1450 | 25 | 6,94 | 20 | 60 | 2.27 | 3 |
| IS80-50-315 | 2900 | 50 | 13,9 | 125 | 54 | 31,5 | 37 |
|
| 1450 | 25 | 6,94 | 32 | 52 | 4.19 | 5,5 |
| IS100-80-125 | 2900 | 100 | 27,8 | 20 | 78 | 7 | 11 |
|
| 1450 | 50 | 13,9 | 5 | 75 | 0,91 | 1,5 |
| IS100-80-160 | 2900 | 100 | 27,8 | 32 | 78 | 11.25 | 15 |
|
| 1450 | 50 | 13,9 | 8 | 75 | 1,45 | 2.2 |
| IS100-65-200 | 2900 | 100 | 27,8 | 50 | 76 | 17,9 | 22 |
|
| 1450 | 50 | 13,9 | 12,5 | 73 | 2,63 | 4 |
| IS100-65-250 | 2900 | 100 | 27,8 | 80 | 72 | 30,3 | 37 |
|
| 1450 | 50 | 13,9 | 20 | 68 | 4 | 5,5 |
| IS100-65-315 | 2900 | 100 | 27,8 | 125 | 66 | 51,6 | 75 |
|
| 1450 | 50 | 13,9 | 32 | 63 | 6,92 | 11 |
| IS125-100-200 | 2900 | 200 | 55,6 | 58 | 81 | 33,6 | 45 |
|
| 1450 | 100 | 27,8 | 12,5 | 76 | 4,48 | 7,5 |
| IS125-100-250 | 1450 | 100 | 27,8 | 20 | 76 | 7,79 | 11 |
| IS125-100-315 | 1450 | 100 | 27,8 | 32 | 73 | 11,9 | 15 |
| IS125-100-400 | 1450 | 100 | 27,8 | 50 | 65 | 21 | 30 |
| IS150-125-315 | 1450 | 200 | 55,6 | 32 | 79 | 22.08 | 30 |
| IS150-125-400 | 1450 | 200 | 55,6 | 50 | 75 | 36,3 | 45 |
| IS200-150-250 | 1450 | 400 | 111.1 | 20 | 82 | 26,6 | 37 |
| IS200-150-315 | 1450 | 400 | 111.1 | 32 | 80 | 42,5 | 55 |
| IS200-150-400 | 1450 | 400 | 111.1 | 50 | 81 | 67,2 | 90 |
popis2






WhatsApp


